recently, southernpec group co., ltd. applied for bankruptcy and reorganization due to non-performance of 4.569 billion yuan. the case was handled by the intermediate people’s court of guangzhou city, guangdong province.
according to the court ruling, as of the audit base date of november 30, 2022, southernpec’s assets totaled 1.835 billion yuan and its liabilities exceeded 10.9 billion yuan.
up to now, a total of 79 creditors have declared their claims to the interim administrator, and the total amount of bonds after preliminary review and confirmation is about 18.9 billion yuan.
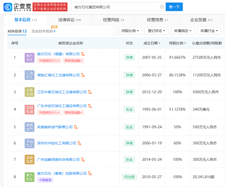
according to the qichacha app, the company was established in 2002, formerly known as guangdong petroleum enterprise group nanfang petrochemical co., ltd., and guangdong petroleum enterprise group corporation, a subsidiary of sinopec, withdrew from the ranks of shareholders of the company in march 2022. it belongs to the trade industry of oil products and petrochemicals. the scale of the enterprise is small. the number of employees in 2022 will be 24. at present, the company has invested in 12 foreign companies, including southernpec (fujian) co., ltd. and southernpec (hong kong) holdings co., ltd.
according to several senior energy industry insiders, generally speaking, integrated companies are unlikely to go bankrupt easily, and they have never heard of or contacted this company before. however, corporate mismanagement or out-of-cycle chemical products could be the cause of bankruptcy.
southernpec’s main business includes oil and gas development, energy trade, warehousing and logistics, financial support and industrial investment. among them, energy trading is one of the company’s core businesses, covering more than 100 kinds of products such as crude oil, natural gas, refined oil, fuel oil and chemicals.
in addition, warehousing and logistics used to be the pillar industry of southernpec.
according to information on the company’s official website, southernpec’s total storage capacity is 1.8 million cubic meters, and it has one petrochemical liquid bulk terminal above 20,000 tons; it has 11 professional ships such as supertankers, with a total capacity of over 1.2 million tons. in key sea areas, international shipping, offshore storage of crude oil and fuel oil, and offshore oil supply business are carried out.
the risk information of tianyancha shows that southernpec currently has a total amount of more than 1.3 billion yuan in execution, and the total unfulfilled amount in this case is about 4.568 billion yuan, and the unfulfilled ratio is 100%.

